-
1/10排気量のダウンサイジングが進む四輪の世界では、高効率ターボ搭載車はすっかりメジャーな存在になっている。写真は2022年10月に発売された「メルセデスAMG SL43」のエンジンルーム。大型の高級オープンスポーツカーにも、ついに2リッター直4ターボエンジンが採用された。
-
2/10「メルセデスAMG SL43」のエンジンには“電動ターボ”が装着されている。これはF1由来の技術で、ターボと同軸上に配置された電気モーターが直接ターボを駆動、アイドリングスピードから全回転域にわたってエンジンのレスポンスを向上させる。
-
3/101981年に発売された、ホンダのターボ付きバイク「CX500ターボ」。500cc(正確には496cc)のVツインエンジンにIHI製のターボを組み合わせていた。
-
4/102013年の東京モーターショーに出展されたスズキのコンセプトモデル「リカ―ジョン」。2気筒のターボエンジンを搭載するスポーツバイクで、「ビッグバイクの走りとミドルバイクの扱いやすさ、経済性を両立させる」とうたわれていた。
-
5/10ターボ以外の過給機を使ったバイクもある。2014年にデビューした、クローズドコース専用の高性能バイク「カワサキ・ニンジャH2R」は、1リッターの直4エンジンにスーパーチャージャーを組み合わせ、最高出力310PS(ラムエア過給時は同326PS)を発生。車両重量は216kgと公表されている。
-
ホンダ の中古車webCG中古車検索
-
6/10特許や実用新案が照会できる「特許情報プラットフォーム」のウェブサイト(写真)によれば、ヤマハはすでに次世代ターボ車の特許申請を済ませている。図によれば、直列3気筒エンジンとの組み合わせが想定されているらしい。
-
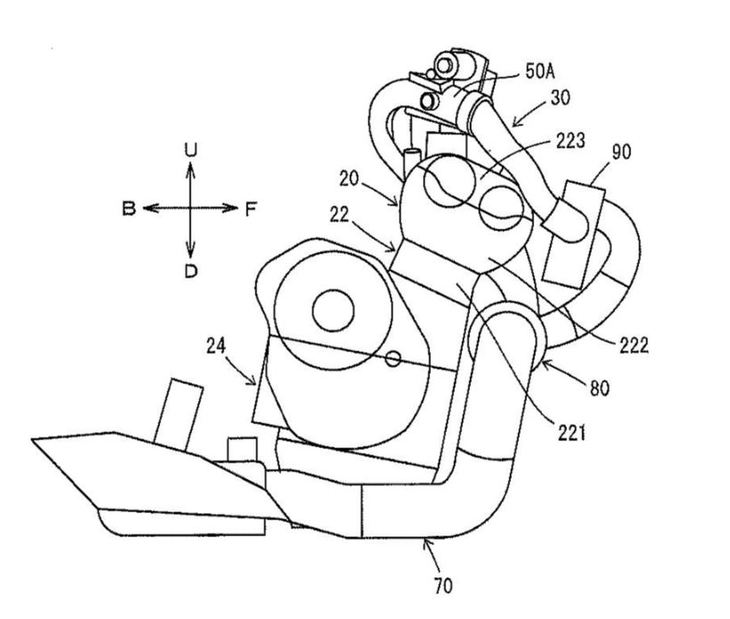
7/10同じく、ヤマハのターボ車に関する資料に見られるエンジンのイメージ。図の80番がターボである。
-
8/10「ヤマハXJ650ターボ」(1982年)は、キャブレターと過給機を組み合わせていたのが特徴。ターボは三菱重工製のものが採用されていた。
-
9/101980年代にスズキが世に送り出したのが「XN85」。車名にあるとおり最高出力85PSを発生した。同時代のライバルと同様、車体には大きく「TURBO」ロゴが描かれている。
-
10/101984年に現れた「カワサキ750ターボ」は、ストレートに「世界最強のターボモデル」を目指した一台。当時のフラッグシップ「GPz1100」に迫るパフォーマンスを発揮した。

宮崎 正行
1971年生まれのライター/エディター。『MOTO NAVI』『NAVI CARS』『BICYCLE NAVI』編集部を経てフリーランスに。いろんな国のいろんな娘とお付き合いしたくて2〜3年に1回のペースでクルマを乗り換えるも、バイクはなぜかずーっと同じ空冷4発ナナハンと単気筒250に乗り続ける。本音を言えば雑誌は原稿を書くよりも編集する方が好き。あとシングルスピードの自転車とスティールパンと大盛りが好き。
ホンダ の中古車webCG中古車検索
デイリーコラムの新着記事
-
核はやはり「技術による先進」 アウディのCEOがF1世界選手権に挑戦する意義を語るNEW 2026.2.13 いよいよF1世界選手権に参戦するアウディ。そのローンチイベントで、アウディCEO兼アウディモータースポーツ会長のゲルノート・デルナー氏と、F1プロジェクトを統括するマッティア・ビノット氏を直撃。今、世界最高峰のレースに挑む理由と、内に秘めた野望を聞いた。
-
ホンダアクセスが手がけた30年前の5代目「プレリュード」に「実効空力」のルーツを見た 2026.2.12 ホンダ車の純正アクセサリーを手がけるホンダアクセスがエアロパーツの開発に取り入れる「実効空力」。そのユニークなコンセプトの起点となった5代目「プレリュード」と最新モデルに乗り、空力パーツの進化や開発アプローチの違いを確かめた。
-
誰にいくらでどうやって? トヨタの「GR GT」の販売戦略を大胆予測 2026.2.11 トヨタが「GR GT」で世のクルマ好きを騒がせている。文字どおり一から開発したV8エンジン搭載のスーパースポーツだが、これまでのトヨタのカスタマーとはまるで違う人々に向けた商品だ。果たしてどんな戦略で、どんな人々に、どんな価格で販売するのだろうか。
-
ガス代は下落しハイブリッド好調 では“燃費の相場”はどうなっている? 2026.2.9 暫定税率は廃止となり、高止まりしていた燃料代は下落。一方でBEV化の速度は下がり、ハイブリッド車需要が高まっている。では、2026年現在の燃費はいかほどか? 自動車購入時の目安になるであろう“燃費の相場”について考える。
-
ホンダの「Hマーク」がいよいよ刷新! ブランドロゴ刷新の経緯とホンダのねらい 2026.2.6 長く親しまれたホンダ四輪車のロゴ、通称「Hマーク」がついに刷新!? 当初は「新しい電気自動車用」とされていた新Hマークは、どのようにして“四輪事業全体の象徴”となるに至ったのか? 新ロゴの適用拡大に至る経緯と、そこに宿るホンダの覚悟を解説する。
新着記事
-
NEW
核はやはり「技術による先進」 アウディのCEOがF1世界選手権に挑戦する意義を語る
2026.2.13デイリーコラムいよいよF1世界選手権に参戦するアウディ。そのローンチイベントで、アウディCEO兼アウディモータースポーツ会長のゲルノート・デルナー氏と、F1プロジェクトを統括するマッティア・ビノット氏を直撃。今、世界最高峰のレースに挑む理由と、内に秘めた野望を聞いた。 -
NEW
第860回:ブリヂストンの設計基盤技術「エンライトン」を用いて進化 SUV向けタイヤ「アレンザLX200」を試す
2026.2.13エディターから一言ブリヂストンのプレミアムSUV向けコンフォートタイヤ「アレンザLX100」の後継となるのが、2026年2月に発売された「アレンザLX200」。「エンライトン」と呼ばれる新たな設計基盤技術を用いて開発された最新タイヤの特徴を報告する。 -
三菱デリカミニTプレミアム DELIMARUパッケージ(前編)
2026.2.12あの多田哲哉の自動車放談イメージキャラクターの「デリ丸。」とともに、すっかり人気モノとなった三菱の軽「デリカミニ」。商品力の全体的な底上げが図られた新型のデキについて、元トヨタのエンジニア、多田哲哉さんが語る。 -
ホンダアクセスが手がけた30年前の5代目「プレリュード」に「実効空力」のルーツを見た
2026.2.12デイリーコラムホンダ車の純正アクセサリーを手がけるホンダアクセスがエアロパーツの開発に取り入れる「実効空力」。そのユニークなコンセプトの起点となった5代目「プレリュード」と最新モデルに乗り、空力パーツの進化や開発アプローチの違いを確かめた。 -
第948回:変わる時代と変わらぬ風情 「レトロモビル2026」探訪記
2026.2.12マッキナ あらモーダ!フランス・パリで開催されるヒストリックカーの祭典「レトロモビル」。客層も会場も、出展内容も変わりつつあるこのイベントで、それでも変わらぬ風情とはなにか? 長年にわたりレトロモビルに通い続ける、イタリア在住の大矢アキオがリポートする。 -
第287回:宝石を盗んで西海岸のハイウェイを駆け抜けろ! 『クライム101』
2026.2.12読んでますカー、観てますカーハイウェイ101で発生する宝石盗難事件はいつも迷宮入り。「ダッジ・チャレンジャー」で素早く逃走する犯人の犯罪心得は、殺さず、傷つけず、証拠を残さないこと。泥棒、刑事、保険ブローカーが華麗なる頭脳戦を繰り広げる!
キャンペーン・お得な情報
週間アクセスランキングホンダ






























